Research Article
Creative Commons, CC-BY
Kinematic Analysis of a Four-Bar Linkage for Forward Stroke Motion
*Corresponding author: Christine Walck, Embry-Riddle Aeronautical University Aerospace Blvd, Daytona Beach, USA.
Received: March 18, 2025; Published: March 25, 2025
DOI: 10.34297/AJBSR.2025.26.003442
Abstract
Current adaptive kayak mounts designed for individuals with upper-body mobility impairments have significant limitations. While devices such as paddle holders and stabilizers improve accessibility, they often restrict natural movement patterns, reducing efficiency and comfort. This study highlights these shortcomings and presents a novel four-bar linkage mechanism as a potential solution. The proposed design aims to replicate a natural forward kayak stroke, improving both usability and alignment with user needs. Motion capture technology was used to analyse stroke mechanics and inform the design process. The effectiveness of the new system was assessed through user feedback and quantitative performance metrics, including motion accuracy and comfort. Results demonstrate that the four-bar linkage successfully mimics a natural forward stroke, suggesting its potential to enhance performance, inclusivity, and user satisfaction in adaptive kayaking. By addressing key limitations in existing designs, this study advances adaptive sports technology and contributes to the development of more functional and user-cantered equipment.
Abbreviations: ERAU: Embry Riddle Aeronautical University; OOHF: Ocean of Hope Foundation; ROM: Range of Motion; DOF: Degrees of Freedom; FS: Forward Stroke; SSP: Standard Stroke Profile.
Introduction
In the United States, 12.1% of individuals live with a significant mobility disability, which impacts their ability to perform daily activities which include using their upper extremities [1]. A majority of individuals with mobility impairments (71%) report experiencing emotional stress and social isolation, highlighting the psychological toll of these physical limitations [2]. Adaptive sports have been shown to enhance physical well-being and improve quality of life by fostering meaningful social connections and reducing isolation [3]. Participation in these activities is linked to breaking down social barriers, empowering individuals, and promoting inclusivity, which collectively contribute to enhanced quality of life for individuals with mobility impairments [3,4].
A key factor enabling participation in adaptive sports is the availability and effectiveness of adaptive devices, which are critical for individuals with mobility impairments to fully engage in recreational activities [5]. Despite advancements in assistive technologies, many existing devices fail to meet user-specific needs, particularly in facilitating natural and effective movement patterns. This shortfall often forces users to adapt to the device’s limitations, rather than the device accommodating the user’s requirements. This misalignment can result in inefficient movements, increased physical strain, and diminished overall experience [5,6].
In adaptive kayaking, the most prevalent devices include adaptive paddle holders and stabilizing mechanisms, such as the Angle Oar Gamut Paddle Holder (Angle Oar LLC, California, USA). This device, shown in Figure 1 stabilizes the paddle with a ball-andsocket joint, allowing for rotational movement but restricting users to limited Degrees of Freedom (DOF), which can prevent natural paddle strokes. As a result, users often struggle to achieve fluid and efficient movements, making it difficult to meet the physical demands of kayaking [7]. For clarity and consistency, this paper will consistently refer to the Angle Oar Gamut Paddle Holder in its full form. Another adaptive kayaking device is the Pivot Paddle, which provides a pivoting mechanism to assist users with reduced upper body strength. While it lowers the effort required to move the paddle, its design does not fully replicate the natural kayak stroke and often results in less efficient paddling motions, increasing user fatigue and diminishing enjoyment [6]. Similarly, the Adapt. It Kayak Paddle Holder attaches to the kayak to stabilize the paddle but shares the same limitations in adaptability and Range of Motion (ROM), preventing fluid paddling motions [6] (Figure 2).
This study addresses these challenges by introducing a novel four-bar linkage design to improve the functionality of adaptive kayak mounts. Current devices fail to replicate the natural forward stroke required for effective kayaking, impacting both efficiency and user satisfaction. Using motion capture technology, the study derived a Standard Stroke Profile (SSP) to guide the design of a new mount. The proposed mount aligns the ROM with a natural forward stroke, facilitating fluid paddling motion and reducing physical strain, thereby improving the overall kayaking experience for individuals with mobility impairments. The innovative approach presented in this research addresses key gaps in existing technology by creating a device that adapts to user needs. By promoting inclusivity and improving both physical and psychological outcomes, this design encourages greater participation in adaptive sports and offers a more rewarding and socially engaging activity for individuals with mobility impairments.
Materials and Methods
In the study by Walck, et al., [4], motion capture technology was employed to collect detailed data over the course of 15 trials, focusing on a 21-year-old male participant performing a standard kayak paddle forward stroke [4]. The resulting motion profile exhibited maximum dimensions of 768 mm along the mediolateral axis (y), 473 mm along the superior-inferior axis (z), and 502 mm along the anterior-posterior axis (x), characterizing a semi-ellipsoidal motion pattern. To facilitate subsequent analysis, the data was extrapolated to establish the theoretical centre point of the kayak paddle by calculating the midpoint of the two paddle endpoints for each frame, resulting in a single motion profile. This Standard Stroke Profile (SSP), illustrated in Figure 4, serves as a guiding principle in the redesign, ensuring that the adaptive kayak mount aligns with the ideal stroke pattern and enhances user experience. The SSP defines the Range of Motion (ROM) in the sagittal, frontal, and transverse planes of the redesigned paddle mount centre, spanning 420 mm along the mediolateral axis (y), 198 mm along the superior- inferior axis (z), and 168 mm along the anterior-posterior axis (x). By utilizing motion capture technology and advanced optimization techniques, this research provides a detailed analysis of how the proposed adaptive kayak mount enhances the replication of natural kayak strokes compared to existing devices. The discussion highlights the significance of these findings in improving user experience and performance in adaptive kayaking (Figures 3,4).
4- Bar Linkage Design
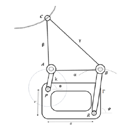
The redesign utilizes a four-bar linkage mechanism to replicate the path of a forward kayak stroke. A four-bar linkage, the simplest movable closed-chain linkage, can map a profile based on the dimensions of its constituent links [5]. This linkage consists of a crank, rocker, coupler, and two grounded base points, modelled to the sagittal plane profile of the paddle’s centre point. The parameter dimensions, as shown in Figure 5, include the triangular coupler lengths γ, β, and α, with the triangular coupler link points A, B, and C. The crank and rocker lengths are represented by k and Γ, respectively, with ground points of the crank and rocker designated as P and R. he vertical distance between the ground points is given by v, and the horizontal distance by u. The angle θ measures the crank’s rotation with the horizontal axis, which rotates through a full 360 degrees. The angle ϕ represents the oscillating angle the rocker link makes with the horizontal axis.
Four-bar linkages are classified into Grashof-type and non-Grashof- type linkages [6]. Grashof linkages satisfy the Grashof condition, which states that if the sum of the shortest and longest link is less than or equal to the sum of the remaining two links, then the shortest link can rotate fully with respect to a neighbouring link. The crank-rocker configuration of a Grashof-type four-bar linkage is governed by the following equations [6].
Each link length was capped at 31.3 inches (0.795 meters) to remain below the minimum sitting eye height, as per the “Ergonomics and Design” reference guide by Openshaw & Taylor [7]. The linkage profile assumes a crank-rocker profile, given an input angle from the crank and an oscillatory angle of the rocker defined by the following equations 11 and 12 where the crank angle θ rotated through a full 360° and the rocker angle ϕ between a min and max value.
The Optimization Toolbox in MATLAB v2023 was used to optimize the linkage design, employing a multi-objective optimization algorithm to minimize the maximum difference between two data sets [8]. This method addresses a set of nonlinear functions that define a system linkage, seen in equations 1-10, to map the output of the linkage couple path Fi(x) to a goal-set F’i, in this case, the SSP in the sagittal plane. The minimizing method iteratively determines the loci of a minimum relative difference between two data sets. The datasets compared consisted of a 22-point dataset of the sagittal plane SSP to the output 22-point dataset profile of the linkage mechanism at point “C” seen in Figure 5. The linkage lengths were determined using the bounded constraints given in relations 11 and 12, the maximum component dimension of 31.3 inches, and an objective function of the linkage equations 1-10 defining the Fi(x) dataset path to the goal path.
Feedback from users (n=30) associated with the Oceans of Hope Foundation highlighted the need for a more relaxed Range of Motion (ROM) better suited to leisure kayakers. In response, the input crank length was reduced by 60% compared to the elite design, aiming to enhance comfort and usability during leisurely kayaking experiences. This adjustment resulted in a maximum bounded crank length of 3.87 cm. Concurrently, efforts were made to maintain consistency in the width parameter u of the linkage mechanism, ensuring uniformity in attachment design and transition across both elite and leisure designs. Detailed parameters for the leisure linkage design are provided in Table 1, distinguishing it from the original elite linkage design developed from the full SSP (Figure 6).
Results and Discussion
The adaptive kayak mount redesign project focused on accommodating the diverse needs of users, resulting in the development of the leisure linkage design derived from the elite linkage. Optimized linkage parameters based on the SSP and employing a minimizing maximum method are detailed in Table 2. Figure 7 illustrates the full sagittal plane SSP for both elite and leisure linkages, providing a comparative analysis against the SSP derived from the State-of-the-Art profile, which assumes cyclic elevation and exit angles of 133.17 and 20 degrees, respectively, typical of kayak paddle strokes [9].
A Root Mean Squared Error (RMSE) analysis was employed
to assess the accuracy of the linkage designs in replicating
the desired kayak stroke motion, utilizing a 22-point dataset
obtained through motion capture
compared to the SSP
trajectory
[10]. This statistical measure quantifies the
average magnitude of discrepancies between predicted and
observed values, where a lower RMSE value indicates closer
alignment with the SSP.
Table 3 presents the RMSE values for the State-of-the-Art, elite, and leisure designs. The State-of-the-Art paddle holder exhibited a high RMSE value, indicating significant deviations from the ideal SSP and suggesting room for improvement in motion replication. In contrast, the elite linkage design, which served as the basis for the leisure design, demonstrated a low RMSE, highlighting its capability to accurately replicate the desired kayak stroke motion as defined by the SSP. The leisure linkage design, while prioritizing user comfort with adjustments such as a reduced input crank length, showed a slightly higher RMSE compared to the elite design, indicating compromises in motion accuracy.
Addressing Gaps in Current Devices
Current adaptive kayak devices often struggle to fully meet the diverse needs of users, particularly in providing a balance between performance and user comfort across different skill levels and preferences. The development of the leisure linkage design from the elite design in this study addresses these gaps by optimizing for user comfort without sacrificing significant motion accuracy. By leveraging advanced optimization techniques and tailored adjustments, this study contributes to enhancing the inclusivity and effectiveness of adaptive kayak mounts, thereby fostering greater accessibility and enjoyment for individuals with mobility impairments in recreational and competitive kayaking.
Conclusion
This study lays the foundation for future research directions in adaptive sports technology, suggesting potential enhancements and innovations to further improve the inclusivity and effectiveness of adaptive kayak mounts. Furthermore, this study underscores the pivotal role of adaptive technologies in enriching recreational experiences for individuals with mobility impairments. The primary objective was to overcome the constraints of current devices and improve overall usability for diverse user groups. By utilizing motion capture data and implementing a four-bar linkage mechanism, we successfully developed two distinct designs: the elite and leisure linkage designs, tailored to meet varying user needs. The elite linkage design, meticulously optimized to replicate the standard kayak stroke profile with exceptional accuracy (RMSE = 22.0 mm), represents a significant advancement in adaptive technology. This precision ensures that elite users experience optimal performance and efficiency during kayaking, thereby enhancing their overall sporting experience.
Conversely, the leisure linkage design, derived from the elite model, prioritizes user comfort and ease of operation while maintaining a balance between functionality and reduced load. Despite a marginally higher RMSE of 79.7 mm, this design offers recreational kayakers a smoother and more relaxed kayaking experience, thereby broadening accessibility and inclusivity in recreational sports. This research highlights the feasibility and importance of advancing adaptive devices to accommodate diverse user requirements in sports and recreational activities. By addressing the distinct needs of users with mobility impairments, this study contributes significantly to fostering a more inclusive environment in sports, ultimately enhancing the quality of life and participation opportunities for individuals facing mobility challenges. Future research should continue to refine these designs and explore additional innovations to further improve adaptive technologies in recreational sports.
Acknowledgment
Special appreciation goes Dr. Charles Reinholtz, Dutch Holland, & Embry-Riddle’s senior capstone design staff for their time and valuable contributions.
Funding
Mechanical Engineering Department, Embry-Riddle Aeronautical University.
References
- Disability impacts all of us Infographic | CDC. (n.d.). Centers for Disease Control and Prevention.
- Côté Leclerc F, Duchesne GB, Bolduc P, Gélinas Lafrenière A, Santerre C, et al. (2017) How does playing adapted sports affect quality of life of people with mobility limitations? Results from a mixed-method sequential explanatory study. Health and Quality of Life Outcomes 15(1): 22.
- Blauwet, CA, Yang HY, Cruz SA, Collins JE, Smith KC, et al. (2017) Functional and Environmental Factors Are Associated With Sustained Participation in Adaptive Sports. PM&R 9: 668-675.
- Walck C, Huayamave V, García M, Diaz Portela P, Hernandez BL, et al. (2023) Advancements in Assistive Devices for Para-Kayaking Sports. International Mechanical Engineering Congress and Exposition.
- Mabie HH, Reinholtz CF (1986) Mechanisms and dynamics of Machinery. John Wiley & Sons, Ltd.
- Pickard J, Carretero JA, Merlet J (2019) Appropriate analysis of the four-bar linkage. Mechanism and Machine Theory 139: 237-250.
- Openshaw S, Taylor A (2006) Ergonomics and Design A Reference Guide. Allsteel Inc.
- (2024) The MathWorks, Inc. Optimization ToolboxTM User’s Guide.
- Alghrairi, Almustafa, Berisha, Milaim (2021) A Biomechanical Examination of the Angle Degrees Between the Start and Finish of Kayaking Techniques.
- The Living Textbook | Home | by ITC, University of Twente (n.d.).











We use cookies to ensure you get the best experience on our website.